Our digital exposure system works with the power supply to compensate for light output changes to ensure a stable, long-term output. It consists of a light sensing head, a controller, and a fiber optic probe. The silicon based light sensor monitors part of the light source output, and the controller constantly compares the recorded signal to the set level and changes the power supply output accordingly to keep the measured signal at the set level.
- Compensates for electrode erosion, gas absorption or desorption
- Silicon based light sensor monitors the light source output
- Automatic detector gain setting for 300 to 1600 W solar simulators See All Features
| Compare | Description | Drawings, CAD & Specs | Avail. | Price | ||
|---|---|---|---|---|---|---|
![]() | 68951Digital Exposure System, Solar Simulators | 6 Weeks |
Features
Digital Exposure System
Our solar simulators have highly regulated power supplies to operate the lamps at constant power or current. However, with aging of the lamp and variables such as electrode erosion, gas absorption or desorption, the light output can change. These changes tend to be wavelength dependent. The 68951 Digital Exposure System works with the power supply to compensate for these changes and ensure a stable, long-term output. It consists of a light sensing head, a controller, and a fiber optic probe. The silicon based light sensor monitors part of the light source output, and the controller constantly compares the recorded signal to the set level and changes the power supply output accordingly to keep the measured signal at the set level. Automatic detector gain setting allows the unit to work with 300 to 1600 W solar simulator models. Refer to the figure to the right for an example of the effect of on the light output of a 1.0 kW Solar Simulator.
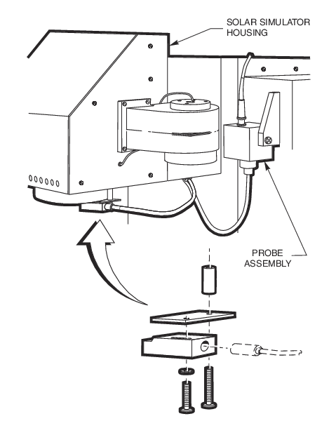
Exposure System Detection Mounting
The figure to the left shows a diagram of the 68951 Exposure System's detection head picking off a portion of the light output from a 1000 W Oriel® solar simulator. A fiber probe, mounted to the simulator's output lens assembly, samples a small segment of the uniform portion of the output beam and feeds it to the Si detector connected to the digital exposure controller.
Resources
Manuals
Oriel 6895X Digital Exposure Systems User Manual(657.2 kB, PDF)
Literature
Oriel Sol1A Solar Simulator Datasheet(714.7 kB, PDF)







